Número Browse:0 Autor:editor do site Publicar Time: 2022-05-25 Origem:alimentado
Projeto de corrente de cisalhamento do pára-choque de borracha tipo célula
Quando o navio atraca no cais, a maioria dos navios colidirá primeiro com o cais a 1/3 e 1/4 do comprimento da proa ou popa.Como equipamento anti-impacto do cais, a defensa de borracha deve suportar não apenas a força normal de impacto perpendicular à parede do cais, mas também a força tangencial paralela à parede do cais.Em condições normais de operação, o pára-choque de borracha tipo célula pode suportar a força tangencial do navio.No entanto, quando a deformação de cisalhamento do cano do pára-choque de borracha excede os requisitos especificados, a corrente de cisalhamento deve evitar a deformação de cisalhamento do cano do pára-choque de borracha.Portanto, a corrente de cisalhamento desempenha um papel importante para garantir a operação normal e o desempenho razoável do pára-choque do tambor.
O método de projeto da corrente de cisalhamento do pára-choque de borracha do tambor é apresentado abaixo.
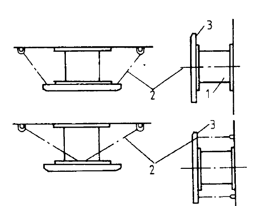
A corrente de cisalhamento é geralmente disposta em ambos os lados do pára-choque de borracha, com uma extremidade fixada na placa anti-impacto e a outra na parede do cais (Figura I).A corrente de cisalhamento geralmente adota corrente comum, sua especificação e quantidade são determinadas pela especificação do pára-choque de borracha, o arranjo do pára-choque de borracha e o tamanho da placa anti-impacto.

Figura I
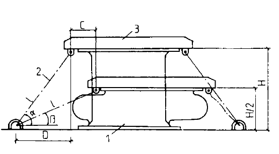
O princípio de projeto da corrente de cisalhamento é garantir que a deformação de cisalhamento do pára-choque de borracha celular não exceda os requisitos especificados sob as condições de atracação mais desfavoráveis.Supõe-se que a taxa de deformação de projeto do pára-choque de borracha do tambor é de 50% e a deformação de cisalhamento permitida é C. Conforme mostrado na Figura 2
C: Deformação de cisalhamento admissível de um pára-choque de borracha tipo tambor;
D: Projeção horizontal da corrente de cisalhamento na parede do cais do pára-choque de borracha em condição de descarga;
H: altura do pára-choques de borracha do tambor.
A corrente de cisalhamento do pára-choque de borracha tipo célula deve ser disposta horizontalmente em ambos os lados do pára-choque de borracha
O comprimento l é calculado de acordo com a fórmula.Uma extremidade é fixada na placa anti-impacto e a outra extremidade é fixada no anel em U embutido